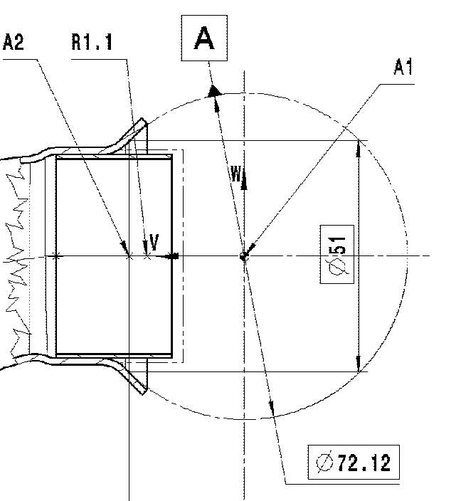
[Al...] Posted February 24, 2025 Share Posted February 24, 2025 Hi all, I've a question regarding how to interpretate the evaluation of a sphere that is a datum. Do you think use as datum 3D-line from A1 to A2 is correct? How can i evaluate it to use as datum? Link to comment Share on other sites More sharing options...
[Ma...] Posted February 24, 2025 Share Posted February 24, 2025 Do you have curve? I don't think that small part is spherical. I would not recommend 3d line. Link to comment Share on other sites More sharing options...
[Al...] Posted February 24, 2025 Author Share Posted February 24, 2025 I don't have curve. What about to use only the A2 point? The refence datums are A and B. I try to use the 3D line as datum A and cylinder as datum B or A2 point as A and circle as B. Do you have other suggestions? Link to comment Share on other sites More sharing options...
[Ma...] Posted February 24, 2025 Share Posted February 24, 2025 I am not sure how your callouts looks like, but i have an idea. Before getting circle A2 you should establish main axis ( some cylinder to get close to axis A2-A1 ) Now you can get circle A2. Then you can make point A1 with calculation: simple trigonometry - R=36,06 / a=25,5 / b = √(R²-a²) = 25,4965 ( it's almost 45° ) So your A1 would be further from A2 by 25,4965. It's not common to have datums like this, but here i think that datum A is indeed 3d line from A1 to A2. Then your datum B should be circle to you be able to rotate alignment to 22,36° Link to comment Share on other sites More sharing options...
[Al...] Posted February 24, 2025 Author Share Posted February 24, 2025 Thanks Martin, this is an appreciated confirmation. Link to comment Share on other sites More sharing options...
[Cl...] Posted February 24, 2025 Share Posted February 24, 2025 (edited) The distance between A1 & A2 is too short for a stable datum. I would measure the sphere using lots of points. That gives you A1. Then create two more theoretical points. One at 51 +X from center and one 51 -X (A2) from center. Then construct a 3d line from those three points. Edited February 24, 2025 Link to comment Share on other sites More sharing options...
Recommended Posts
Please sign in to comment
You will be able to leave a comment after signing in